腾讯是第一个开始申请注册“小程序”商标的,而且是45类全注册,但是最终全部都没有注册成功。
微信继公众号之后的另一个平台火了!那就是“小程序!这是一种不需要下载安装即可使用的应用,用户扫一扫或者搜一下即可打开。
如今,小程序能力创新是中国IT行业的一个重要成果,已经成为中国编程者一个非常热门的编程环境和正在热情学习的语言环境。
“小程序”这个词火了之后,一大波人开始了“小程序”商标注册之旅。

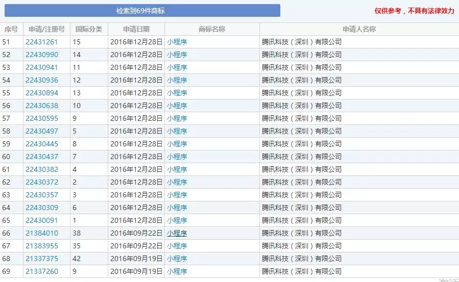
商标局官网显示,腾讯共提交有69件“小程序”商标。

早在2016年9月,腾讯科技(深圳)有限公司在第9类计算机软件、第35类广告销售、第38类信息传送、第42类信息技术咨询服务等使用范围内申请注册“小程序”商标。
在小程序正式上线前的12天,腾讯一鼓作气补全了其他类别的“小程序”申请,至此在腾讯看来“小程序”45类全类注册保护完成。
但事实上,腾讯最先申注的一批“小程序”商标不但被商标驳回,在腾讯向商评委申请驳回复审后,依然无法挽回这些商标。


商评委经审理后,在今年1月份驳回了第21383955号、第21337260号、第21384010号、第21337375号“小程序”商标。
上述商标分别涉及第9类计算机软件、第35类广告销售、第42类信息技术咨询服务、第38类信息传送范围,这些商标统统可是腾讯“小程序”的核心商标!!!拿不到核心商标的商标专用权,腾讯即使在其他防御性商标类别上成功注册,意义也不大,这和全军覆没有啥区别?
带路网了解到,商评委的驳回理由均是“小程序”商标违反了《中华人民共和国商标法》第十一条第一款第(三)项内容,即其他缺乏显著特征的不得作为商标注册的标志。

虽然腾讯是目前中国最大的互联网综合服务提供商之一,虽然“微信”商标于2016年被认定为驰名商标,虽然“小程序”依附于微信品牌及自身优势,具有较高的知名度。
除了腾讯申请“小程序”商标死于“显著性”之外,还有小米申请注册“爱视频”、阿里巴巴申请注册“轻定投”,最终都是由于“缺乏显著性”被驳回。
那么,为什么会因为缺乏显著性被驳回?什么是商标的显著性呢?
宏观来说,商标的显著性,可以将一家企业提供的商品或服务与其他人提供的区分开来,想要商品在竞争之中脱颖而出,商标的显著性就扮演了十分重要的角色。
举个例子,生产纯牛奶的商家有很多,为什么一提到纯牛奶就会首先想到“蒙牛”和“伊利”?

俩牌子,大家都很熟悉吧?
这就是因为“蒙牛”和“伊利”的商标具有很强的显著性,让大家将这两个品牌与他们提供的牛奶产品牢牢地联系起来。
显著性是一个标志成为商标最基本的条件,把没有显著性的标志拿去申请注册商标,是会被驳回的。那么,商标的显著性表现在哪些方面呢?
首先,商标的显著性有可能是“天生”就有的。
有一个很出名的零食品牌叫做“旺仔”。“旺仔”跟零食没有一点关系,那么“旺仔”这个商标被创造出来使用在食品上,就天生具有一定的显著性。
换句话说,从一个商标的本身字面含义来看,与企业提供的商品或服务没有联系,这个商标就天生具有显著性。
其次,商标的显著性也可能是“后天”获得的。
比如说“小肥羊”火锅,羊肉是他家的招牌菜。“小肥羊”这个商标直接表明了内蒙古小肥羊餐饮连锁公司提供的产品,将“小肥羊”运用到餐饮服务中,很难和其他商家区分开来。
但是,经过内蒙古小肥羊餐饮连锁公司多年的广泛宣传和使用,打响了“小肥羊”这个品牌,而且名声越来越大,大家听到“小肥羊”,就会想到“小肥羊”火锅。
可以说,“小肥羊”通过后天的使用而获得了很高的显著性。
那么,商标注册中,哪些是没有显著性的标志?
《商标法》第十一条 下列标志不得作为商标注册:
(一)仅有本商品的通用名称、图形、型号的;
(二)仅直接表示商品的质量、主要原料、功能、用途、重量、数量及其他特点的;
(三)其他缺乏显著特征的。
前款所列标志经过使用取得显著特征,并便于识别的,可以作为商标注册。
商标注册可以是为企业争取储备商标的一个途径,在实际运用中,商标注册需要经历的时间很久,所以提早进行商标布局有利于企业商标的积累,在后续的使用或者防御中起到一定的作用。若您急着需要使用商标可以通过商标购买的方式来获取,若您对商标购买的相关信息不是非常了解,可以选择正规的代理公司,带路商标网以诚信立业,为客户提供最专业的商标代理服务。