主页 > 知识库 > “蚂蚁呀嘿”从爆红到凉凉的,其相关商标已被抢注

“蚂蚁呀嘿”从爆红到凉凉的,其相关商标已被抢注

热门标签:腾讯地图标注中心官网 电话机器人软件哪个好用 安国代理外呼系统 新乡百应电销机器人怎么样 外呼智能系统报价 公司400电话办理的好处 甘南智能电话机器人 贵阳防封卡外呼系统原理是什么 青岛智能外呼系统厂家

2 月下旬,由于搞怪的表情与魔性的音乐,不少网友都被 “蚂蚁呀嘿”这款变脸特效视频刷屏了。

其幕后产品 Avatarify 仅需一张照片就可以自动生成动态唱歌视频,并于同期登上了热搜榜、苹果 App Store 免费榜。在火爆了不足一周后,这款应用上周已悄然从 App store 下架。消息称该软件有侵犯隐私权嫌疑。

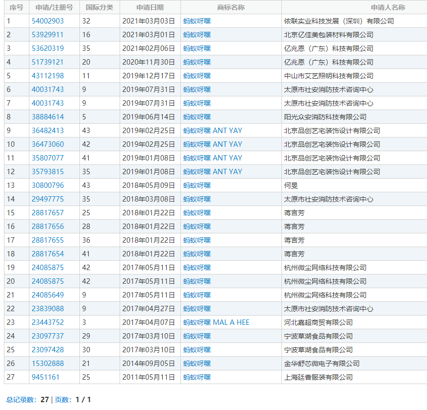
从 2 月 6 号至今,“蚂蚁呀嘿”商标已被十几家企业及个人申请注册,国际分类涉办公用品、广告销售、啤酒饮料等。商标状态为 “注册申请中”
此外,蚂蚁呀黑,蚂蚁牙黑等商标也被申请注册。




一个好商标就是一个好品牌。市场未动,商标先行!希望各大企业能加强知识产权保护战略实施,做好对自己品牌的保护。在这个商标资源如此匮乏的时代,注册全类商标已经难上加难。你的品牌还没有商标的话,那要赶紧去注册了。你想在短期内获得一枚优质的好标,建议通过购买商标的方式去获得,时间上更快!后期商标好好经营的话,其孵化的品牌价值也是不可估量的。

标签:池州 呼伦贝尔 娄底 东营 浙江 大连 滁州 沧州

巨人网络通讯声明:本文标题《“蚂蚁呀嘿”从爆红到凉凉的,其相关商标已被抢注》,本文关键词  蚂蚁呀嘿,从,爆红,到,凉凉,;如发现本文内容存在版权问题,烦请提供相关信息告之我们,我们将及时沟通与处理。本站内容系统采集于网络,涉及言论、版权与本站无关。
  • 相关文章
  • 下面列出与本文章《“蚂蚁呀嘿”从爆红到凉凉的,其相关商标已被抢注》相关的同类信息!
  • 本页收集关于“蚂蚁呀嘿”从爆红到凉凉的,其相关商标已被抢注的相关信息资讯供网民参考!
  • 推荐文章