主页 > 知识库 > 长安蔚来成立近4年终于要推新车了?已注册“光驭”等商标

长安蔚来成立近4年终于要推新车了?已注册“光驭”等商标

热门标签:宿迁回拨外呼系统 新密外呼营销系统价位 地图标注怎么显示环境不错 连云港客服外呼系统开发 乌苏电话机器人 大连400电话办理哪家好 北京申请企业400电话 人工网络外呼系统一般多少钱 南宁自动外呼系统公司
来源:车市纵览

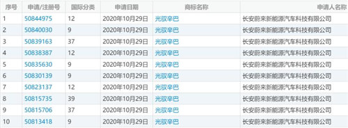
近日,我们在国家知识产权局中国商标网上查询发现,长安蔚来新能源有限公司(以下简称“长安蔚来”)注册了“光驭”以及“光驭辛巴”两个商标,注册时间分别为2019年9月29日和2020年10月29日。这意味着长安蔚来在成立了近4年的时间后,或在产品推进落地上有新动作。


事实上,长安与蔚来的合作已落地近4年的时间。2017年4月9日,长安汽车与蔚来签署了战略合作协议。蔚来创始人、董事长兼CEO李斌当时表示,双方将成立合资公司,研发新产品(与江淮的代工合作不同)。2018年8月17日,长安汽车与蔚来汽车共同出资打造的合资公司长安蔚来新能源汽车科技有限公司落户南京江宁开发区。李斌任长安蔚来董事长,副董事长由长安汽车执行副总裁李伟担任。


不过自此以后,长安与蔚来的合作一直迟迟未推进。2020年6月,长安蔚来发生工商变更,蔚来李斌卸任该公司董事长,新任董事长为长安汽车执行副总裁谭本宏。长安汽车原持有长安蔚来50%股权,但长安汽车通过现金增资等方式增加对长安蔚来的投资,增资完成后,长安汽车合计持有长安蔚来95.38%的股权,而蔚来仅持有4.62%。换句话说,在长安蔚来的合资关系中,蔚来大幅度后撤,长安汽车出手接盘。

从企查查中可见,长安蔚来经营范围包括新能源汽车整车及零部件的设计开发;汽车销售及相关售后服务;汽车零配件批发及零售;与电动汽车相关的技术咨询、技术转让、技术服务等等,而此次注册新商标后,或意味着长安蔚来在产品推进上有了新进展。

编辑点评:

在长安蔚来的合资关系中,为何蔚来大幅后撤,而长安选择接盘?业内有声音认为,蔚来业务覆盖面较广,无力继续“分心”是一个原因。还有消息称,长安蔚来或成为长安发力高端电动车的主体,此前长安汽车宣布,将联合华为、宁德时代成立新的高端汽车品牌,而这个品牌与长安蔚来又会有何关系呢?我们对此将保持关注。


标签:随州 陕西 娄底 阿坝 兴安盟 青海 赤峰 大理

巨人网络通讯声明:本文标题《长安蔚来成立近4年终于要推新车了?已注册“光驭”等商标》,本文关键词  长安,蔚,来,成立,近,4年,;如发现本文内容存在版权问题,烦请提供相关信息告之我们,我们将及时沟通与处理。本站内容系统采集于网络,涉及言论、版权与本站无关。
  • 相关文章
  • 下面列出与本文章《长安蔚来成立近4年终于要推新车了?已注册“光驭”等商标》相关的同类信息!
  • 本页收集关于长安蔚来成立近4年终于要推新车了?已注册“光驭”等商标的相关信息资讯供网民参考!
  • 推荐文章