主页 > 知识库 > 又有”芯“消息!OPPO注册“马里亚纳”商标,自研芯片要成了?

又有”芯“消息!OPPO注册“马里亚纳”商标,自研芯片要成了?

热门标签:城市地图标注软件 鄂州智能应答电销机器人源码 百应呼多电销机器人 延安防封电销卡 中山小型外呼系统招商 电销机器人公司靠什么赚钱 舞钢打电话机器人 连锁服装店地图标注什么名字好 提供好的外呼系统
来源:数码民工

自研芯片、芯片缺货、芯片涨价等等新闻近段时间可谓是持续出圈,不关注数码科技圈的网友也会被芯片相关的消息所刷屏。国产科技厂商近年来飞速发展之后,外部对于中国科技领域的打压便开始了,其中遏制芯片供给就让不少科技企业吃了苦头,所以大力发展自研芯片能力就成了很多科技企业的重中之重。


华为的麒麟芯片就是国产自研芯片能力的体现,而继华为之后,国产品牌OPPO近日似乎也有大动作了。

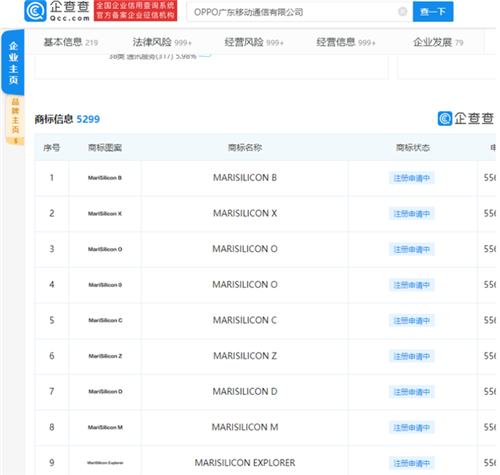
根据企查查披露的信息显示,OPPO品牌于 4 月 27 日注册大量 MARISILICON 商标,其中包含B、X、O、C、Z 等多个名称,国际分类均为9类科学仪器,目前商标状态为注册申请中。目前 MARISILICON 暂无翻译,马里亚纳硅英文单词为 Mariana Silicon,因此可以推断出这个名称为世界最深海沟“马里亚纳”和硅芯片的结合,所注册的商标疑似为OPPO自研芯片的正式名称。


在2019年OPPO就成立了芯片 TMG(技术委员会),2020年初正式公布了OPPO自研芯片“马里亚纳”计划,此前多家媒体也报道了OPPO聘请了了联发科、紫光展锐等多家芯片企业的高管人才,全力加速芯片开发进度。OPPO正式进入芯片研发,也意味着手机行业厂商实力平均线再度提高,差异化和优越性会是下一阶段智能手机的重要卖点。


除了拥有大量芯片人才外,OPPO近年来突飞猛进的专利数量也是其敢于开发芯片的原因之一。截至2021年3月31日,OPPO全球申请专利数量超过61000件,其中发明专利申请数量超过54000件,发明专利申请占比达89%。与此同时,OPPO在全球PCT专利申请排名第8、全国第一申请人专利授权排名第2、欧洲专利申请量中国权利人第2。


此前OPPO中国区总裁刘波接受采访的时候,就表示做芯片OPPO必须搞透这项技术,必须能够研究到深水区,让技术成为我们未来发展最重要的核心驱动力。刘波也坦承“非常难”,做芯片当然相当难。“现在我不知道有没有人能做成,也不知道OPPO是否会成功,但我们只知道我们要投入,我们要做。”刘波表示,OPPO对于技术的投入绝对是不吝啬的。


马里亚纳是地球上最深的海沟,同时异常凶险,OPPO将芯片研发计划与商标形容成“马里亚纳”确实很贴切。不过从OPPO的部署来看还是较有把握的,毕竟有着多年研发芯片能力的技术人才,另外在专利技术方面又有多年积累;这些都将大力推动OPPO芯片的开发进度,值得我们重点关注。




标签:南通 汕头 成都 廊坊 商丘 长沙 滁州 乌兰察布

巨人网络通讯声明:本文标题《又有”芯“消息!OPPO注册“马里亚纳”商标,自研芯片要成了?》,本文关键词  又有,芯,消息,OPPO,注册,;如发现本文内容存在版权问题,烦请提供相关信息告之我们,我们将及时沟通与处理。本站内容系统采集于网络,涉及言论、版权与本站无关。
  • 相关文章
  • 下面列出与本文章《又有”芯“消息!OPPO注册“马里亚纳”商标,自研芯片要成了?》相关的同类信息!
  • 本页收集关于又有”芯“消息!OPPO注册“马里亚纳”商标,自研芯片要成了?的相关信息资讯供网民参考!
  • 推荐文章