PZEA是KVMLA旗下的一家新主机商,KVMLA是一家国人主机商,成立于2011年。其提供的服务几年来口碑还算良好,其老总--“K总”常活跃于全球主机交流论坛,是个技术牛人,也正是这份技术功底,使其撑过了国人IDC成立初期的残酷竞争期(DDOS攻击和CC攻击轮番上阵,能撑过来的都是运维水平过硬的),保障了其服务稳定性。
PZEA现提供亚洲KVM、美国KVM和便宜VPS三种VPS主机,KVM能提供更好的性能,更大的系统自主性,其相应价格也更高,真正做网站的朋友可选择KVM架购的VPS。
第一、Pzea便宜美国VPS主机购买过程
1、Pzea便宜方案
年付PZEA便宜方案:https://www.pzea.com/North-America-openvz-vps.html
2、选择合适配置和机房

这里我们可以看到上图所示中Pzea最低年付12美金(256MB内存、15GB硬盘、1个IP、100Mbit带宽、月500GB流量),根据需要选择配置方案,以及每个方案有3个机房,分别是凤凰城Phoenix、洛杉矶Los Angeles、佛利蒙Fremont。
PS:三个机房的速度都差不多,因为我考虑到可能 很多人会选择洛杉矶,所以我就选择佛利蒙。
3、核对配置和默认系统

这里我们可以看到当前购买的佛利蒙年付12美金(自动给我们折算成75元RMB),我们可以选择Linux各种发行版本。后面就很简单的继续注册账户或者已有账户登入后付款,可以用支付宝。
第二、Pzea便宜美国VPS主机综合测评
我们选择任何VPS主机、服务器、虚拟主机产品的时候,即便是看到一些评测文章,也不能全作为参考依据,因为所有的测评文章都仅限当时的网络环境、时间点的数据,并不能代表永久的性能。就好比我们购买的一些主机,开始用的不错,后来就慢了,这些关系的因素很多。
1、内存、硬盘、CPU参数

这里是这款VPS主机的配置,内存购买的时候标识256MB,但是实际怎么给了512MB?难道送双倍内存,不懂其他网友有没有这样的情况。
2、硬盘IO读写速度参数

3、随机网络线路下载参数

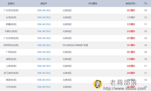
4、Ping速度测试参数
凤凰城:184.164.68.11
洛杉矶:104.251.225.253
佛利蒙:104.143.39.2

这里挑选PZEA佛利蒙机房的PING速度,从数据上看还是不够理想的,要是海外VPS主机PING速度在200左右就比较理想,但是我们也不能完全看Ping数据,我们还需要看实际项目速度。
5、UnixBench跑分测试

6、流媒体速度效果

浏览720P流媒体速度还算可以,1080P速度稍微有点卡顿。
第三、Pzea便宜美国VPS体验小结
1、年付12美元(75元左右)的费用用来玩玩还算可以的,其品牌算是国内个人商家中口碑还算可以的。我们可以用来玩玩Linux VPS,搭建个小网站或者架设工具上网。
2、从上述的性能测试看,网路节点的下载速度并不是特别理想,尤其是到欧洲、亚洲节点的速度不够好,这也取决于带宽仅有100Mbit的速度,从浏览流媒体速度看,基本的还算可以满足,上网查阅资料算是没有问题的。
总结,从配置上看K总给的还是比较多的,比如256MB内存方案年付12美金价格给的是512MB内存,还有256的Swap。今天的测试速度看对比上周拿到的时候显然不如那天的,丢包还是有点多的,怪不得有网友说他们的测试也有一点问题,不过作为练手便宜VPS还是可以用的。
anyway,我们在选择如何主机商和产品的时候永远要记住一分钱一分货,而且对于我们在选择追求过分便宜VPS主机的时候一定要有一定的心理准备,当然即便有些商家的机器较贵也不一定能够满足我们的需求要求。这就是为什么每次有用户让推荐VPS商家和产品的时候较为为难,因为不同的人用同一个机器速度也不同。我们尽量的在选择机器先打听其他用户使用情况,以及问清楚是否可以退款,采用月费方式,不满意可以在条款规定内申请退款等等自我尝试。