站在抖音背后的巨头则是“今日头条”母公司北京字节跳动科技有限公司,作为一家国内知名企业,自2016年9月推出抖音之后,可以说在两年之内迅速攻占市场,而在商标上自然也无法忽视对品牌的保护。

商标局官网查询结果显示,当前在北京字节跳动科技有限公司名下检索到和“抖音”相关的商标共有125件,包含了“抖音 IDOU、抖音菌、抖音男神、抖音助手、抖音女神、抖音达人、抖音秀”等商标。其中,“抖音”商标有78件,最早于2016年11月11日申请;今年8月份又提交了9枚“抖音”商标注册申请,目前均在等待受理阶段。
另外,字节跳动还申请了众多火爆的抖音达人ID名称,比如“面筋哥”、“刘海柱”、“泡面姐”、“隧道哥”等,以及一些和抖音品牌相关、相近的商标,像“抖转”、“吉时开抖”、“抖加”、“抖币”、“抖咖”、“抖客”、“抖友”等。
快手:
快手诞生于2011年3月,前身是“GIF快手”,是北京快手科技有限公司旗下的产品,但其母公司全称则为北京达佳互联信息技术有限公司。

据商标局官网查询的结果显示,北京达佳互联信息技术有限公司共申请了56枚“快手”商标,最早于2014年10月11日申请,最晚申请的也在2018年3月26日。
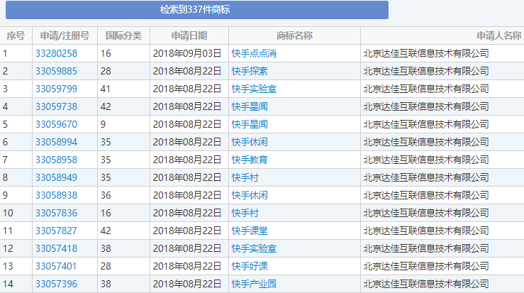
另外,在北京达佳互联信息技术有限公司名下检索到和“快手”相关的商标多达337件,包含“快手教育、快手实验室、快手直播、快手小店、快手村、快手产业园、快手课堂、快手小游戏”等品牌相关商标,以及“快手,记录幸福生活”等Slogan类型的商标。可见,快手在品牌保护上也是很重视的。
微视:
作为腾讯布局短视频的一把利器,微视算得上是“死过一回”的了,曾被边缘化又运气好碰上了短视频这阵风,终于还是被腾讯再次举起踏入短视频,全新打造的微视背靠腾讯自身的资源优势,也吸引了众多用户。

在商标上,商标局官网查询到339件和“微视”相关的商标,但显示在腾讯科技(深圳)有限公司名下的“微视”商标仅有23件,但都是直接以“微视”命名的。
腾讯作为一个庞大的企业,微视即便能带来不错的转化,但短视频毕竟只能算是腾讯业务分支中的一小部分,在分量上必然不及QQ、微信。如此一来,似乎也可以理解为何腾讯只申请了少量“微视”商标,但腾讯还是申请了和微视业务范围关系紧密的类别商标,比如第9类、第38类、第41类等。
其他:
除了抖音、快手、腾讯微视之外,短视屏领域现如今还有不少其他玩家,比如近期被抖音起诉侵权的百度“伙拍”。商标局官网查询结果显示,百度名下申请了12枚“伙拍”商标,并且都是在2018年7月之后申请的,另外还申请了12枚“好看视频”商标。


再有如秒拍,隶属于炫一下(北京)科技有限公司,商标局官网查询显示该公司名下也申请了12件“秒拍”商标,而且申请的时间都比较早,最早于2013年12月02号,最晚的则是在2015年12月10号。
另外的巨头企业玩家方面,比如京东,此前5月份就报道过京东申请了多枚和“视频”相关的商标,比如“蒜苔视频”、“岩浆视频”等;还有阿里,前几日也曝出申请了80枚“音螺”商标。

从上面统计的情况来看,抖音快手在品牌商标的保护上明显要好很多,而且申请了众多与品牌相关、相近的商标,这在很大程度上能防止“蹭品牌”的现象发生。相比之下,BATJ似乎显得有点弱爆了。
文字到图片再到视频,内容产业经历了20多年的发展,已经在互联网领域占据了非常重要的地位。与此同时,抖音、快手、美拍、秒拍等短视频App的出现,进一步降低了视频制作门槛,带来了全新的用户体验。可以说,当下短视频app市场广阔,前景十分可观,但是随着入局的玩家越来越多,谁会坚挺到最后呢?