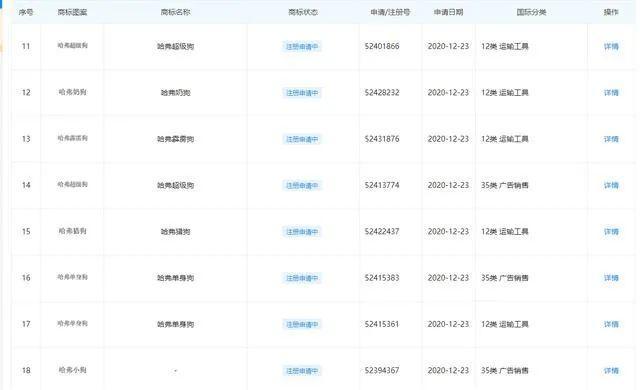
近日,长城汽车因大量注册新商标一事引起大量的关注。据车叔了解,在长城汽车这次注册的商标中,包括了“哈弗单身狗”“哈弗霹雳狗”“哈弗猎狗”“哈弗超级狗”等商标,国际分类这一栏涉及到运输工具以及广告销售,商标状态均为“商标申请中”。

对此,网友们认为长城汽车此举是为了博眼球,但是这样的市场营销策略有些变味,不太符合传统观念。另外,一些单身的朋友认为,“哈弗单身狗”这个商标让人听起来有些不舒服,感觉心里受到了一万点暴击。

当然了,车叔对于另一种解释倒是比较赞同。一部分网友认为,长城汽车注册这么多商标,其主要目的是为了避免其他品牌对商标进行恶意抢注。其实这种做法很常见,奥迪汽车就曾注册了多种LOGO,意在防止其他品牌“碰瓷”。

其实长城汽车注册的商标不止是“狗字科”,车叔注意到,自2020年到现在,长城汽车注册的商标还有“长城二炮”“长城四炮”“魏·舒服”“欧拉猫”“雷电炮”“哈弗跃马”等,听起来各个都很奇葩。商标注册可以是为企业争取储备商标的一个途径,在实际运用中,商标注册需要经历的时间很久,所以提早进行商标布局有利于企业商标的积累,在后续的使用或者防御中起到一定的作用。若您对商标注册的相关信息不是非常了解,可以选择正规的代理公司,带路商标网以诚信立业,为客户提供最专业的商标代理服务。