主页 > 知识库 > 丰巢申请注册新商标

丰巢申请注册新商标

热门标签:珠海销售外呼系统 常州ai电销机器人好用吗 电话机器人怎么地推 郑州电销外呼系统收费 佛山电商外呼系统公司 山西忻州400电话申请 高德地图标注牛人 400电话如何申请ii 实体店做地图标注

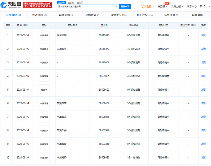
据天眼查APP显示,8月16日,深圳市丰巢科技有限公司申请注册多项“丰巢易购”商标,国际分类涉及网站服务、通讯服务等,目前商标状态均为申请中。

值得一提的是,同日,该公司还申请注册多项“丰巢顺买”“丰巢即买”“丰巢随购”“丰巢零售”商标,国际分类涉及网站服务、通讯服务等,商标状态均为申请中。

商标注册可以是为企业争取储备商标的一个途径,在实际运用中,商标注册需要经历的时间很久,所以提早进行商标布局有利于企业商标的积累,在后续的使用或者防御中起到一定的作用。若您对商标注册的相关信息不是非常了解,可以选择正规的代理公司,带路商标网以诚信立业,为客户提供最专业的商标代理服务。


标签:郑州 鹰潭 南通 洛阳 昌都 青海 巴中 曲靖

巨人网络通讯声明:本文标题《丰巢申请注册新商标》,本文关键词  丰巢,申请,注册,新商标,;如发现本文内容存在版权问题,烦请提供相关信息告之我们,我们将及时沟通与处理。本站内容系统采集于网络,涉及言论、版权与本站无关。
  • 相关文章
  • 下面列出与本文章《丰巢申请注册新商标》相关的同类信息!
  • 本页收集关于丰巢申请注册新商标的相关信息资讯供网民参考!
  • 推荐文章