近几年来,长城汽车不断推陈出新,玩起花样命名,哈弗大狗、坦克、长城炮等新品牌一经上市,别出心裁、清新脱俗的命名就引发不少网友热议,受到不少受众追捧!
目前长城旗下已拥有哈弗、WEY、欧拉、长城炮等众多子品牌,最近长城的商标布局动作似乎透露了其在研发新子品牌的道路上又有了新动作。

,8月-9月期间,长城汽车股份有限公司申请注册了一批全新商标,其中不仅有皮卡长城炮系列的防御商标,还有一批与其他子品牌不同的商标。
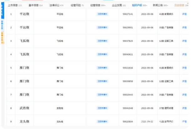
早在2019年4月,长城推出了首款乘用化大皮卡“长城炮”,不到两年时间,长城炮成为最快突破20万销量的中国高端皮卡品牌,中国每卖出两台皮卡,就有一台是长城。而在长城最近一批申请注册的商标中,又出现了“平远炮”“飞狐炮”“雁门炮”“武胜炮”“龙头炮”“镇远炮”“紫荆炮”“得胜炮”等。

在“长城炮”系列推出之后的两年间,长城就已申请了近700多个与有关“炮”的商标名称,如“冲锋炮”“黄金炮”“全能炮”“风云炮”“激光炮”“金刚炮”“至尊炮”等等。无论是作为提前注册的防御商标,还是作为长城炮系列皮卡其他子品牌的商标,长城都已经做好了万全准备。说不准,这些看上去有些奇怪的商标名里,就有进一步丰富长城炮系列产品线的名字。

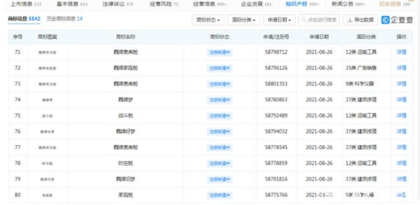
除了长城炮系列商标之外,长城此次还申请了其他两种画风不同的商标。其中一类与长城WEY系列有关,“魏牌梦”“魏牌旧梦”“魏牌圆梦”“魏牌追梦”“魏牌贵宾舱”“魏牌时空舱”等。WEY系列在今年刚刚推出过全新子产品WEY摩卡、WEY玛奇朵、WEY拿铁,如今的“梦”系列定位如何,我们暂时还无从知晓。

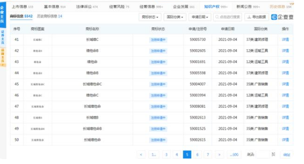
长城此次申请的另一类从未听过的商标名是“维他命”系列。“维他命”“长城维他命A”“维他命B”“长城维C”……这些“维他命”系列商标听起来就透着一股青春气息,或将成为长城推出的一款面向年轻人的全新系列也未可知。

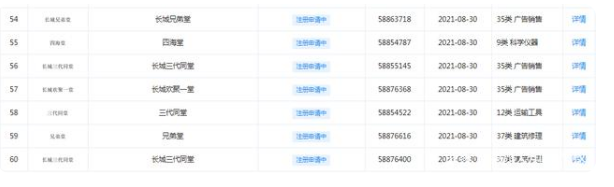
除此之外,长城还申请了“长城兄弟堂”“四海堂”“长城三代同堂”“兄弟堂”“长城欢聚一堂”“长城四海堂”等堂相关商标,妥妥的江湖义气风范,体现了长城五湖四海一家亲的感觉。

现今,在模块化造车平台的支撑下,新车的研发成本已经大幅度降低。同一车企旗下的不同子品牌和车型之间的零部件与技术共享已经成为常态,如何不盲目推出子品牌,将车型有利布局,实现子品牌的良性循环,才是车企最待关注的核心。
品牌运营离不开商标的守护!商标是企业品牌资产的重要组成部分,一定程度上对品牌起着生死攸关的决定作用!因此,企业经营者一定要重视商标保护,要从长远考虑,全面完善商标布局。一方面要全面防御布局,可以防止他人抢注商标,侵犯自身知识产权权益;另一方面则是长远着想布局,有益于保障企业品牌长远发展健康发展!
以上内容仅供参考,如您需要解决具体的商标转让、商标注册问题请详询“带路商标网”我们有最专业的工作人员为您解答!