主页 > 知识库 > 古井贡酒的商标注册沉迷之路

古井贡酒的商标注册沉迷之路

热门标签:桂林手机外呼系统 国庆出游地图标注 怎么办理400电话号 百度地图标注路线怎么出错 鄂州真人语音电话机器人哪个好 百度地图标注距离能否修改 亮剑天下的外呼系统原理 车玛仕市场地图标注 ai电话机器人发展
来源:财经网

财经网产经讯 徽酒领头羊古井贡酒今年在商标注册上动作颇多,但也争议不断。其今年2月申请注册的“山川异域”、“风月同天”商标,目前已无法在商标局系统中查询。同期申请的“罍神”、“小罍神”、“罍神 古井”也已先后被发驳回通知。而5月注册的“酝三秋”,则疑似“撞车”金种子酒旗下“醉三秋”系列。

近日,财经网产经由国家知识产权局商标局官网查询发现,今年5月,古井贡酒方面申请注册了名为“酝三秋”的商标,商标所属类别为33类,包括白酒; 果酒(含酒精); 鸡尾酒; 葡萄酒; 米酒; 威士忌; 朗姆酒; 酒精饮料(啤酒除外); 黄酒; 烧酒。目前状态属于等待实质审查阶段。


图片来源:财经网产经于今年9月在商标局官网截图

而另一家徽酒龙头企业金种子酒旗下的“醉三秋”系列产品已上市多年,金种子酒在财报中也提及,“醉三秋”为中国驰名商标。另据金种子酒天猫官方店铺显示,醉三秋40度460mL*4瓶浓香型整箱白酒的总销量高达7048个。


图片来源:金种子酒天猫官方店铺截图

财经网产经据此向古井贡酒董秘办方面询问注册“酝三秋”商标的初衷,对方仅表示不清楚情况。而后财经网产经联系金种子酒方面询问对此事态度,以及未来是否会提出商标异议,金种子酒方面也表示,由于目前该商标尚属于实质审查阶段,待公司经过流程,再根据实际情况做决定。

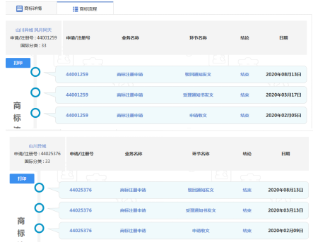
古井贡酒的商标注册争议不止于此。财经网产经在商标局官网还发现,其于今年2月曾接连申请注册罍神山、山川异域、风月同天等商标。

但引人关注的是,古井贡酒公司在今年2月份申请的“罍神”、“小罍神”、“罍神 古井”已先后于今年8月底至9月初被发驳回通知。另一方面,其于同时段申请的“罍神山”、“罍神山古井”商标,依然仅显示“正等待受理”、商标流程仅显示“申请收文”。

早在今年6月,福建瀛坤律师事务所律师梁婕就曾向财经网产经指出,虽然正常申请的商标等待缴费时,在系统中也会显示“等待受理”。但彼时(6月)已远超过商标正常受理、缴费的时间。这意味着相关商标不太可能再被受理进入实审阶段。


图片来源:财经网产经于今年9月在商标局官网截图

更值得注意的是,财经网产经于今年6月曾检索时,古井贡酒方面于2月申请注册“山川异域”、“风月同天”的商标状态为“正等待受理”。但今日再以该注册号进行搜索,已无法查询到相关信息。财经网产经据此询问古井贡酒董秘办方面,对方依然表示不清楚原因。


图片来源:财经网产经于今年6月在商标局官网截图

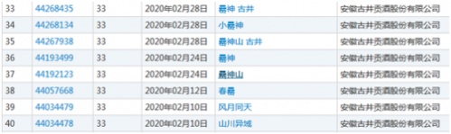
同时,财经网产经以“山川异域”、“风月同天”作商标名称搜索时也发现,其他主体在33号酒类类别中提出相似申请的商标,大多已在今年8月被下发驳回通知。


图片来源:财经网产经于今年9月在商标局官网截图

尽管古井贡酒早前推出了一款名为“小罍神”的产品,但同济大学法学院知识产权与竞争法研究中心主任张伟君也向财经网产经指出,其非常怀疑企业注册“罍神山”等商标相关商标的必要性。因为这看起来是一种比较“低级”的商业策略。


标签:晋城 常州 新乡 烟台 青海 许昌 金昌 荆州

巨人网络通讯声明:本文标题《古井贡酒的商标注册沉迷之路》,本文关键词  古井贡,酒,的,商标注册,;如发现本文内容存在版权问题,烦请提供相关信息告之我们,我们将及时沟通与处理。本站内容系统采集于网络,涉及言论、版权与本站无关。
  • 相关文章
  • 下面列出与本文章《古井贡酒的商标注册沉迷之路》相关的同类信息!
  • 本页收集关于古井贡酒的商标注册沉迷之路的相关信息资讯供网民参考!
  • 推荐文章