主页 > 知识库 > 斥责森马侵权的嵩山少林寺,注册了666个商标

斥责森马侵权的嵩山少林寺,注册了666个商标

热门标签:国庆出游地图标注 百度地图标注路线怎么出错 桂林手机外呼系统 车玛仕市场地图标注 亮剑天下的外呼系统原理 怎么办理400电话号 百度地图标注距离能否修改 ai电话机器人发展 鄂州真人语音电话机器人哪个好
来源:广东新闻广播

因销售含有“少林功夫”元素的服装,服饰品牌森马被嵩山少林寺发函斥责侵权。森马回应称此事有些误会,但随后在多个平台下架涉事服装。

澎湃新闻梳理发现,作为宗教机构,自上世纪90年代开始,嵩山少林寺广泛布局商标,截至2020年9月13日,23年间一共申请注册666个商标,八九成带有“少林”字样。而引人争议的是,在2004年福建南少林寺注册“南少林”商标后几年,嵩山少林寺也注册了“南少林”商标,并将“东少林”、“西少林”、“北少林”全部注册成功。

为何嵩山少林寺能成功注册涉及其他少林寺的商标?知产律师刘凯认为,或因商标审查主要依赖于人工,不同时段审查标准也会存在差异。

嵩山少林寺怒怼森马服饰侵权

9月1日,嵩山少林寺发布声明,称嵩山少林寺是注册商标“少林功夫”在服装类商品上的所有权人,森马在各平台在售的“Semir国潮跨界合作-国潮少林功夫森马”系列服装,未经授权将“少林功夫”用于服装标签及商品名称,已侵犯少林寺知识产权。


嵩山少林寺的知产侵权声明

随后,森马服饰方面回应称,得知此事后很惊讶,森马是通过少林寺所属单位的合作公司获得授权,正在和合作公司进一步沟通中。但截至9月13日,森马方面再未对外有过公开回应。而记者检索多个电商平台发现,被指侵权的系列服装已下架。澎湃新闻向客服询问下架原因,但未获回应。

嵩山少林寺的知产维权引发网络关注。有网友认为,“少林功夫”应该属于全社会,系社会“公共品”,嵩山少林寺维权之举实则是为维护商业利益,存在不妥。但多名律师告诉记者,嵩山少林寺申请注册“少林功夫”商标并进行维权,并不违背法律规定。

北京中闻律师事务所律师刘彬表示,他个人赞同“少林功夫属于全社会”的说法,但这和商标注册并无冲突。《商标法》并未规定对“少林”等词汇不能注册。少林寺是法律认可的一个组织,以该组织名义申请商标,在法律层面不存在问题。商标注册一方面是为开展经营活动,另一方面是为有效保护品牌和商誉。

在保护商标利益这块,嵩山少林寺毫不含糊。

2019年4月,河南省登封市人民法院公布的行政裁定书显示,2017年11月9日,一商家在合同规定时间已经到期情况下,又销售给登封市嵩润商贸有限公司271件“少林寺”牌少林素饼,经营额4万元。

2018年6月1日,登封市市场监督管理局认定,该商家销售该批 “少林寺”牌少林素饼属于侵权商品,其行为属于侵犯他人注册商标专用权,遂作出行政处罚,责令其立即停止侵权行为,罚款10万元。

中国商标网信息显示,嵩山少林寺自1998年开始,陆续在几乎全类商品上注册了“少林寺”商标。

“少林药局”曾想卖方便面被驳回

公开信息显示,中国嵩山少林寺近年来进行了广泛的商标布局。从1997年起至2020年9月13日,嵩山少林寺共计申请了666个商标,广泛申请注册“少林寺”、“少林”、“少林功夫”、“少林印象”、“少林生活”等商标,有些甚至是全品类注册(商标注册时有45个类别可选,各类别下又有细分)。

而在1997年之前,1982年,就有医药保健品公司成功申请注册“少林寺”商标。但在嵩山少林寺开始重视“商标”保护后,鲜有公司或个体申注“少林”商标,甚至有公司合法使用18年的“少林”商标被法院裁决无效。

据中国裁判文书网公布的判例,2018年,嵩山少林寺提请天马果公司注册和使用的“少林”商标无效,认为易使公众认为其与宗教场所之间存在某种特定联系,有害于宗教感情,从而产生不良影响。最终,法院判决支持了商评委关于天马果公司使用近20年的“少林”商标无效的裁定。

不过,在申请注册商标方面,嵩山少林寺也曾因“涉嫌误导”被商标评审委员会驳回。

据北京青年报等多家媒体报道,中国嵩山少林寺曾于2004年8月17日向商标局申请注册“少林藥局SHAOLIN MEDICINE”商标,欲使用在方便面、茶、咖啡等商品上。

嵩山少林寺认为,“少林藥局”已有700多年历史,已经和嵩山少林寺形成了唯一特定联系,所以该商标具有显著性;其次,嵩山少林寺的申请商标使用在注册商品上,不会有不良影响。但商评委答辩认为,“少林藥局”历史上最初有治疗各病的秘方百余方,以寺内众僧及周边百姓诊断治疗为主要事务。后因兵火战乱,“少林藥局”事务屡有断续。该商标易使消费者理解为治病、买药的处所,而不会将其作为商标加以识别。

该注册商标申请被国家商标评审委员驳回,嵩山少林寺不服,将商评委告上法庭。2010年4月,北京市一中院在审理后维持了商评委的复审决定书。

法院认定,综合考虑少林药局的历史沿革及作用,申请商标使用在茶、咖啡等商品上,易使消费者认为上述商品来源于药局,其中可能含有药用成分,从而对商品的性能等产生误认,进而产生不良的社会影响。

“东西南北”少林都注册被疑抢注

澎湃新闻梳理发现,近年来嵩山少林寺强势维护自身商标权益,还被指有抢注之嫌。

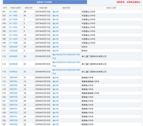
据中国商标网信息,嵩山少林寺先后申请注册“东少林”、“西少林”、“南少林”、“北少林”等商标,且几乎是全类注册。

历史上,存在“南北少林”之说,在很多人的印象里,“南少林”即福建的南少林寺,“北少林”即嵩山少林寺。嵩山少林寺方丈释永信曾公开宣称,位于嵩山少林寺北边的“北少林”是嵩山少林寺的分院,但对东、西、南少林寺的情况,未有公开明确表态。
嵩山少林寺与福清南少林寺注册的“南少林”商标

澎湃新闻2015年11月曾以《嵩山少林寺深陷争议漩涡之时,福建莆田南少林寺正悄然崛起》为题,报道了同样是中国佛教禅武文化圣地之一的南少林寺的近况。由于历史缘由,南少林寺在清朝初年,一夜之间销声匿迹,只停留在金庸小说《书剑恩仇录》勾画的武侠世界里,直到1986年才重新被考古学家发现和挖掘。后来,当地政府在旧遗址上重建了南少林寺,以此推动当地的旅游产业。

不过,此前,福建省曾掀起一场南少林寺的遗址纷争,卷入其中的共有三座古寺,它们分别是莆田少林寺、泉州少林寺和福清少林寺,几方都拿出了证据,各执一词。

中国商标网信息显示,2004年3月,福建的福清少林寺申请在几乎全类商品上注册“南少林”商标,并获得注册。2007年开始,嵩山少林寺也开始申请在多类商标上注册“南少林”,并获得注册。尔后,福清少林寺再于2017年申请多类注册“南少林”,并获得注册。

而就在最近的2020年8月26日,嵩山少林寺又在9、10、16类商标上注册了“南少林”。

不仅如此,嵩山少林寺在2007年至2014年之间陆续申请注册了东、西、南、北少林商标。如,于2007年6月15日在13类商品申请注册“北少林”、“东少林”、“西少林”;2011年1月18日,在16类商品上申请注册“南少林”;2014年11月5日,在30多个品类商品上,申请注册“南少林”、“东少林”、“北少林”、“西少林”。

嵩山少林寺注册的西少林商标 来源:网络截图

“嵩山少林寺把东、南、西、北少林都注册了,可能有点争议。”刘彬律师表示,其行为有抢注之嫌。但是否构成抢注,还要根据事实情况来进行最终判断。“现在常见侵犯他人在先权利的商标注册申请,其中原因很多,如何准确地识别出他人的在先权利是商标审查时的一个难题。”

湖南闻胜律师事务所知识产权与娱乐法律师刘凯也认为,其他少林寺与嵩山少林寺在历史沿革、文化渊源等方面具有较大差异,嵩山少林寺申请“东少林”、“西少林”、“南少林”商标确实存在抢注的嫌疑。

对于为何嵩山少林寺能成功把“东西南北”少林商标全注册,刘凯认为,可能是由于商标审查主要依赖于人工,不同时段审查标准也存在差异。对此,“若其他少林寺觉得商标遭到抢注,根据《商标法》相关规定,在先权利人或者利害关系人可自商标注册之日起五年内请求商标评审委员会宣告该注册商标无效。”

然而,对于嵩山少林寺的抢注问题,9月16日,福清南少林寺主持释广智明确向澎湃新闻表示,“都是寺庙,佛家讲‘不争’。”

释广智介绍,福清南少林寺自1996年开始申请“南少林寺”的商标,后续多次申请都通过了。南少林寺申请商标的目的,更多是为了进行知识产权保护,防止其他人过度利用这个品牌,做一些对宗教情感有伤害的事。比如,河南曾出现了“少林火腿肠”,南少林寺和嵩山少林寺一脉相承,所以对嵩山少林寺也注册“南少林”商标,“应该有一颗包容慈悲之心,都是为了佛祖的事业,佛教的发展。”


标签:晋城 荆州 许昌 金昌 新乡 烟台 常州 青海

巨人网络通讯声明:本文标题《斥责森马侵权的嵩山少林寺,注册了666个商标》,本文关键词  斥责,森马,侵权,的,嵩山,;如发现本文内容存在版权问题,烦请提供相关信息告之我们,我们将及时沟通与处理。本站内容系统采集于网络,涉及言论、版权与本站无关。
  • 相关文章
  • 下面列出与本文章《斥责森马侵权的嵩山少林寺,注册了666个商标》相关的同类信息!
  • 本页收集关于斥责森马侵权的嵩山少林寺,注册了666个商标的相关信息资讯供网民参考!
  • 推荐文章