15年来,为全国50万+企业提供互联网数字化基础应用服务。
知 识
0514-86177077
9:00-17:00(工作日)
首 页
企业400电话
Hot
网站☯建设
微网小程序
商标✡知产
网络营销推广
AI电话机器人
热
彩铃©短信
增值拓展业务
新
主页
>
知识库
> “李佳琦”商标有戏?法院要求撤销商标驳回并重作决定
“李佳琦”商标有戏?法院要求撤销商标驳回并重作决定
热门标签:
长沙销售外呼系统服务商
啥是地图标注
安庆400电话申请
天津电话外呼系统运营商
新乡400电话办理申请
做电销机器人需要外呼资质吗
电销机器人315曝光
冠县地图标注
做外呼系统有几种
来源:澎湃新闻
此前,李佳琦关联公司注册“李佳琦”商标曾被驳回,现在有望改写结果。
4月5日,北京法院审判信息网显示,“口红一哥”李佳琦持股49%的宁波镁麒电子商务有限公司与国家知识产权局其他一审行政判决书公布,原告为宁波镁麒电子商务有限公司,被告为国家知识产权局,案由为商标申请驳回复审行政纠纷。案号为(2020)京73行初8844号,审理法院为北京知识产权法院。
原告诉称,原告宁波镁麒电子商务有限公司是由知名主播李佳琦及其所属公司美腕(上海)网络科技有限公司共同出资成立,
原告享有“李佳琦”姓名的合法商标申请权。
引证商标(注册号:15251314)权利状态不稳定,请求法院暂缓审理本案。综上,请求法院撤销被诉决定,并判令被告重新作出决定
。
被告在书面答辩状中称:被诉决定认定事实清楚,适用法律正确,作出程序合法,请求判决驳回原告的诉讼请求。
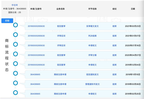
本次的判决结果为:撤销被告国家知识产权局作出的商评字[2020] 第94305号《关于第36408665号“李佳琦”商标驳回复审决定书》;
国家知识产权局就宁波镁麒电子商务有限公司针对第36408665号“李佳琦”商标提出的驳回复审申请重新作出决定等。也就是说,国家知识产权局将对李佳琦关联公司能否注册“李佳琦”商标一事重新作出决定,而李佳琦相关公司有可能成功注册该商标。
早在2020年4月24日,国家知识产权局作出的商评字[2020] 第94305号《关于第36408665号“李佳琦”商标驳回复审决定书》认定:诉争商标违反了《中华人民共和国商标法》第三十条的规定,驳回诉争商标在复审商品上的注册申请。
而本次之所以重新作出决定,北京知识产权法院表示,是因为本案引证商标在第25类全部核定使用商品上被撤销注册,诉争商标注册的权利障碍已发生变化,并已影响案件审理结果,本院据此撤销被诉决定。
天眼查App显示,宁波镁麒电子商务有限公司成立于2017年11月,法定代表人郑明,注册资本100万人民币,该公司由宁波镁麒电子商务有限公司、李佳琦共同持股,持股比例分别为51%、49%。
澎湃新闻(www.thepaper.cn)记者查询中国商标网发现,“李佳琦”该商标的注册过程一波三折。早在2019年2月就进行了第一次注册,多次被驳回,也多次进行评审。
标签:
湖北
曲靖
日喀则
石嘴山
牡丹江
公主岭
物业通知
包头
巨人网络通讯声明:本文标题《“李佳琦”商标有戏?法院要求撤销商标驳回并重作决定》,本文关键词 李佳琦,商标,有戏,法院,;如发现本文内容存在版权问题,烦请提供相关信息告之我们,我们将及时沟通与处理。本站内容系统采集于网络,涉及言论、版权与本站无关。
相关文章
下面列出与本文章《“李佳琦”商标有戏?法院要求撤销商标驳回并重作决定》相关的同类信息!
“李佳琦”商标有戏?法院要求撤销商标驳回并重作决定
来源:澎湃新闻 此前,李佳琦关联公司注册“李佳琦”商标曾被驳回,现在有望改写结果。 4月5日,北京法院审判信息网显示,“口红一哥”李佳琦持股49%的宁波镁麒电子商务有限公司...
10-23
贵港全自动外呼系统公司(自动化外呼系统)
本篇文章给大家谈谈贵港全自动外呼系统公司,以及自动化外呼系统对应的知识点,希望对各位有所帮助,不要忘了收藏本站...
11-06
Pytho常见的数据可视化库,小白必备
目录 一、Matplotlib 二、Seaborn 三、ggplot 四、Bokeh 五、Pygal 六、Pyecharts 一、Matplotlib Matplotlib是Python中众多数据可视化库的鼻祖...
10-18
网站为何踏上了被“流氓”之路
网站作弊 百度视为网站作弊的行为如:关键词堆砌、窃取流量、强制展现 、诱导点击 、强制点击、iframe伪装、利用程序模拟...
10-19
泊头红豆电销卡(红豆营业厅客服电话)
本文目录一览:1、红豆卡虚商通信助手为什么不能直接拨号2、红豆电信卡功能机能用吗红豆卡虚商通信助手为什么不能直接...
07-10
家庭电话机器人是什么东西(电话机器人是干嘛的)
本文目录一览:1、什么是智能电话机器人2、电话机器人是干嘛的3、电话机器人是什么?什么是智能电话机器人 简单来说,机...
08-28
智能电销外呼软件有哪些(电销自动外呼系统哪个好)
本篇文章给咱们谈谈智能电销外呼软件有哪些,以及电销主动外呼体系哪个好对应的知识点,期望对各位有所协助,不要忘了...
05-18
商标必须打?吗?
《商标法》第九条:商标注册人有权著名“注册商标”或者注册标记。 商标标注 商标注册人的权利并不是义务。也就是说商...
10-23
.Net与JS时间日期格式的转换问题对比分析
本文实例分析了.Net与JS时间日期格式的转换问题。分享给大家供大家参考,具体如下: Js中的1415349957524整数 ,其实代表的是...
10-18
电销机器人骗局(电销机器人是什么意思)
今天给各位分享电销机器人骗局的知识,其中也会对电销机器人是什么意思进行解释,如果能碰巧解决你现在面临的问题,别...
08-28
杭州智能电销机器人系统(智能电销机器人 资讯智能电)
本文目录一览: 1、大家对于“智能电销机器人”了解吗?2、电销智能机器人哪家做的比较好?3、智能语音电销机器人哪家...
11-27
廊坊稳定电话销售线路怎么办理,群呼系统-放心省心
廊坊稳定电话销售线路怎么办理,群呼系统电话机器人扮演的是销售助手,和客户讲解专业的楼房信息;电销行业,电话机器人...
12-17
打1000个电话机器人(打电话的机器人)
今天给各位分享打1000个电话机器人的知识,其中也会对打电话的机器人进行解释,如果能碰巧解决你现在面临的问题,别忘...
05-16
南通电销专用Sip系统好用吗,智能回拨系统-哪家比较好?
一企嗨电话营销系统 1.当前的电销场景有哪些困扰? 1)手机.卡频繁被封,电销业务难以启动; 2)销售人员号码被标注,...
12-17
南京拟建“12345”政府服务呼叫中心
南京市委市政府将整合全市非紧急报警类政务服务热线电话,准备建立市“12345”政府服务呼叫中心,64个市级部门和机关单...
10-19
宁波ai电销机器人如何(销售智能电销机器人)
本篇文章给大家谈谈宁波ai电销机器人如何,以及销售智能电销机器人对应的知识点,希望对各位有所帮助,不要忘了收藏本...
11-06
Win10怎么清除cmd运行中的历史记录?
运行是Windows中比较简约的功能,它可以为用户提供快速打开程序的方法,前提是你知道程序的文件名。不过我们都知道,这...
10-20
智能机器人市场分析
首先,外呼机器人的应用场景非常广泛,确实可以有效提升企业的工作效率,降低企业人力成本,并且服务效果并不逊色于人...
10-24
400800电话申请需知:如何快速办理拥有属于自己的独立业务号码-400800电话申请
随着企业规模的不断扩大以及市场竞争的加剧,越来越多的企业开始注重拥有一个属于自己的独立业务号码来提高产品及服务...
07-21
400开头的电话怎么与手机绑定,400电话和手机绑定吗
400开头的电话怎么与手机绑定,400电话和手机绑定吗400电话代理商为你解答。 上海云巨通信的400电话色病是有个后台的,可以...
07-20
衢州长江电销卡(衢州长江电销卡在哪里办)
本文目录一览:1、长江时代手机卡如何销户?2、长江时代电销卡激活流程3、长江时代通信怎么销户4、长江时代是什么卡5、长...
07-10
眉山防封电销系统推荐 汇港通科技有限公司
移动crm通过大数据、云计算整合云通信,为企业提供整合“员工管理、客户管理、电话营销、AI机器人、微信营销、进销存管...
10-31
人工外呼电销机器人(电销智能呼叫机器人)
本篇文章给大家谈谈人工外呼电销机器人,以及电销智能呼叫机器人对应的知识点,希望对各位有所帮助,不要忘了收藏本站...
11-05
海南不封卡电销卡办理套餐(海南手机卡套餐)
本文目录一览:1、电销卡是什么?2、网上有说不封号的电销系统,有用过的吗,靠谱吗?3、电销为什么会封号,需要遵守什么规则...
07-10
上海回拨外呼系统多少钱(回拨外呼系统真的会不封卡吗?)
本篇文章给大家谈谈上海回拨外呼系统多少钱,以及回拨外呼系统真的会不封卡吗?对应的知识点,希望对各位有所帮助,不...
05-17
电话销售如何避免封号呢
在互联网快速发展的时代下,智能手机的使用越来越普及,现在的家庭几乎人手一部,然而一个手机最多也只能拥有两个卡槽...
10-25
从Windows系统的本地连接到Linux系统的腾讯云服务器的方法
从本地Windows机器登录到Linux云服务器(有公网IP) Step1. 安装客户端软件 从本地Windows机器登录到Linux云服务器时,需要使用客...
10-19
400电话运营商哪个好400电话属于电信业务么
中国移动400电话运营商400电话,也被称为全国统一接入码业务,所有拨打400总机号码的电话都被转移到预设的固定电话或手机...
01-13
扬州专业外呼系统办理,电销软件-了解咨询
扬州专业外呼系统办理,电销软件通过使用CRM系统,根据AI机器人通话服务质量,为客户提供个性化的服务,在知识库的支持下...
12-17
巨推传媒代运营,我们比别的代运营有哪些优势?
巨人网络通讯作为一个互联网领域拥有威望资质的抖音抖音代运营公司,一直以专业的团队,负责的态度服务每一个企业客户...
03-01
办理海航通信170号段卡有哪些常见问题?(海航通信电话卡合法吗)
虚拟运营商的电话卡能很容易的分辨出来,因为虚商卡是有专属的16、17号段。海航通信170号段卡就是虚拟运营商的电话卡,...
09-19
商标使用行为指向的客体为商业标识
商标法所调整的法律关系为商标法律关系,即有关特定商业标识之上权利的获得、行使与保护,商标法律关系的客体为商业标...
10-23
Sql Server中清空所有数据表中的记录
Sql Server中清空所有数据表中的记录 清空所有数据表中的记录: 复制代码 代码如下: exec sp_msforeachtable @Command1 ='truncate table ...
10-18
Win9免费下载?仅对Win8.1 Update 2用户
6月25日消息,微软将在今年发布 Windows 8.1 Update 2 ,Windows 8.1 Update 1用户可免费升级至Windows 8.1 Update 2。而俄罗斯黑客组织WZO...
10-20
深圳专业电话软件办理价格,电销机器人-你知道吗?
深圳专业电话软件办理价格,电销机器人和客户进行高效率沟通交流的智能产品,能够帮助企业在茫茫人海中做好客户的初筛...
12-17
深圳电销电信卡一张多少钱
深圳电销电信卡一张多少钱 价格便宜,与普通电话卡相比,电销卡套餐价格更具优势,因为电销卡一般为月卡套餐。与普通...
12-16
台州电信:论电信企业大众化营销与针对性营销的重要性
一、大众化营销和针对性营销的关系 大众化营销是在实施营销活动时,企业对同一种产品或服务,向消费者传播同一种信息...
10-22
设置企业专属标识,400电话办理必不可少400电话如何设置使用
市场上大大小小的企业可以选择400电话,因为它可以成为企业的专属标志,是全国唯一的标志。 对于企业来说,它不仅可以...
01-13
唐卡装饰公司电销怎么样(唐卡装饰公司电销怎么样啊)
本文目录一览: 1、重庆哪个装修公司好,重庆唐卡装修怎么样?2、唐卡装修地址告知你,让您挑选幸福日子3、重庆唐卡装...
04-22
七轴工业机器人强在哪里,它有哪些优势
随着工业机器人产业的逐渐成熟,七轴机器人成为了众多企业的突破目标,也被视为高端工业机器人的标志。那么相较于非常...
10-30
宁夏加强地理标志产品维权打假力度
来源:人民网 8月16日,记者从自治区市场监督管理厅获悉,宁夏加大对地理标志产品维权打假专项整治力度,持续加强地理...
10-23
2016全球客户联络中心基准报告节选(下)
不同年龄层次的TOP3渠道选择: 25岁以下:社交媒体、APP、电子邮件 25-34岁:电子邮件、APP、电话 35-54岁:电话、电子邮件、...
10-22
新人怎么做好电话销售?
不少毕业生或者转行的,在一开始都是踌躇满志的进入销售行业,但时间长了就发现并不是那么回事,要想做好并不容易。作...
12-03
南昌企业白名单电销卡那里办理
南昌企业白名单电销卡那里办理 电销卡的使用成本相对来说是比较低的,一般来说都是套餐服务,一个外呼电话也就几分钱...
12-16
西安电话机器人哪里有卖(西安智能机器人专卖店)
本文目录一览:1、现在在中国哪里可以买到服务的智能机器人2、电话ai机器人在哪能买3、做电话机器人的那么多,哪家更好呢...
08-09
无锡专业电话营销系统哪里有,电销线路-质优价廉
无锡专业电话营销系统哪里有,电销线路在参照国内外企业的先进管理经验、融入客户关系管理(CRM)理念、并认真研究我国企业...
12-16
呼叫中心系统有哪些?教大家如何筛选可用性高的产品!
很多企业都想接入呼叫中心系统,市面上并不缺乏相关产品。呼叫中心系统有哪些?不少大公司出品的系统人气爆棚,强大的...
07-12
成都语音呼叫中心系统怎么样
呼叫中心系统 不仅要满足企业客服中心的功能应用,同时整套系统的稳定性、高可用设计、高并发量以及能够满足未来平滑...
10-26
友邦电话机器人(友邦小友智能机器人)
本文目录一览:1、友邦保险的24小时热线2、友邦保险客服热线中心3、北京国医械华光认证有限公司官网4、友邦客服电话5、...
06-20
网络电话软件
都说萝卜白菜各有所爱,有的用户喜欢可以显示本机号码的网络电话,有的用户想要购买不显示号码的网络电话,目前哪些网...
10-26
上海防封号房产加盟-总算知道
上海防封号房产加盟导致市面上的电话电销机器人泛滥成灾,多不胜数,很多人在选购电销机器人的时候很看重性价比,但现...
01-15
“李佳琦”商标有戏?法院要求撤销商标驳回并重作决定
来源:澎湃新闻 此前,李佳琦关联公司注册“李佳琦”商标曾被驳回,现在有望改写结果。 4月5日,北京法院审判信息网显示,“口红一哥”李佳琦持股49%的宁波镁麒电子商务有限公司...
10-23
本页收集关于“李佳琦”商标有戏?法院要求撤销商标驳回并重作决定的相关信息资讯供网民参考!
推荐文章
汕尾电销
郑州智能电销机器人
婺源地图标注
贵阳自动外呼系统定制
百度地图标注员骗局
地图标注位置怎么固定
河南精确外呼管理系统
南宁电销外呼系统线路商
保险智能外呼系统要多少钱
巫师3为什么地图标注的财宝没有
南宁市ai电销机器人费用
百度地图标注免费电话店
广州智能外呼系统平台
聊城销售外呼系统运营商
哨子科技电销机器人
上海联通
西藏外呼系统哪家不错
海南文昌乡镇地图标注
厦门电销机器人好用吗
潍坊销售外呼系统厂家
自动外呼电销机器人
湖南亿商通讯外呼系统
兰州防封卡电销卡
品质好的外呼系统
临汾外呼系统定制开发
黔西南地图标注
电话外呼怎么解决线路问题
电销外呼系统济南空气净化器
申请北京400电话多长时间
如何搭建电话外呼系统
呼入外呼系统
外呼系统防封号吗
电脑外呼系统实号显示软件
2020电话外呼系统
百度地图标注点收费
呼和浩特智能电话机器人报价
抗封的电话外呼系统
金华外呼系统接口对接
焦作电话机器人价格
汉沽区电销机器人让销售不再难
美团商家地图标注入驻
登封ai电话机器人价格
新乡回拨外呼系统
全国地地图标注服务电话
佛山百度地图标注位置要钱吗
百度地图标注很多低点
怎么查看高德地图标注上线时间
天津呼叫中心外呼系统服务商
菏泽400电话如何申请
外地地图标注怎么做
电销会不会被机器人颠覆
电话机器人管理系统
江苏电销外呼系统原理是什么
苏州稳定防封电销卡
电话机器人首页
外呼系统链接官网
百度地图标注赚赏金点
悦航超市地图标注
电销外呼系统用的是自己手机号吗
申请400电话怎么安装
廊坊外呼系统呼叫系统
电销机器人真的有效吗
地图标注道路名称
六盘水代理外呼系统
威海电销外呼系统招商
400电话在哪儿申请
地图标注展示
给诈骗分子提供了外呼系统
系统外呼的意思
世界地图标注重要国家及首都
中山语音电销机器人厂家
电话机器人ai哪家公司好
智能语音机器人电销是否靠谱
地图标注切换页面消失点
百度地图标注员双创基地
公司地图标注招聘店
腾讯ec外呼系统上班要加班吗
海北地图标注公司正规吗
语音电话机器人哪个好用
杭州防封卡电销卡办理低资费
地图标注位置新增
使用电话机器人的风险
代理电话机器人价格
宜宾自动外呼系统
可以地图标注的手机软件
滁州400电话申请
凯立德收费站地图标注点
电梯外呼系统有什么好处
高德地图标注自己想要的点
什么企业需要外呼系统
西安电销外呼系统哪家好
梧州智能电销机器人系统
赤峰电销
十堰400电话申请
苏州数据外呼系统产品介绍
地图店铺标注图标
地图标注员现在还赚钱吗
抖音地图标注怎么弄
万利达公交车站地图标注
太湖腾讯地图标注
沈阳外呼系统电话
全平台商家地图标注
请移动地图标注工作地点
智能机器人电销代理
电话线怎么配电话机器人
拉萨智能电销机器人软件
申请400电话业务
辽宁外呼系统功能
仪征电话机器人加盟
襄阳随州智能外呼系统怎么做
长三角数据外呼系统供应商
零成本地图标注项目入驻
谷歌地图标注位置怎么保存
苹果美发店地图标注入驻
地图标注工作有什么发展点
湖州外呼线路解决
谷哥地图标注路线
呼伦贝尔腾讯地图标注店
铜川外呼系统平台
日本详细地图标注
电话机器人
电话机器人
电话机器人
400电话办理
电话机器人
“李佳琦”商标有戏?法院要求撤销商标驳回并重作决定
上一篇:
三星堆火锅?碰瓷式商标抢注怎就刹不住?
下一篇:
清除抢注商标的灰产
一起分享吧
产品关键词: “李佳琦”商标有戏?法院要求撤销商标驳回并重作决定 李佳琦,商标,有戏,法院,