上周,我们在《小红书最热门的十大行业内幕(一):美妆类》《深扒小红书护肤行业的内幕,了解护肤类博主的运营套路》两篇文章里分别揭秘小红书里美妆行业和护肤行业的内幕,今天,我们就来说一下时尚穿搭。
小红书除了是美妆品牌营销的重要渠道,也是时尚穿搭爱好者的种草圣地,吸引了大批时尚品牌的聚集。
去年7月,小红书开放平台&商城负责人杰斯在Will未来品牌大会上透露,2020年上半年时尚品牌入驻小红书的数量增长超过10倍。总结明确了“B2K2C模式”,在B2K2C的闭环链路中,品牌通过KOC/KOL的真实体验和分享在社区树立口碑,去影响更多用户的消费行为,用户通过分享消费体验,再反向影响品牌和其他用户,形成正循环。
而通过推进B2K2C模式与时尚新品牌成长周期的融合,半年时间,时尚已成为小红书社区用户标签提及率最高的品类。在小红书平台的积极引导下,用户开始改变对小红书的固有印象,小红书从美妆领域的百度逐渐转变为时尚女性生活的百科全书。
在《2020年小红书双十一行业投放报告》显示,行业推广流量大盘笔记互动增量排行前三的行业分别是时尚、护肤、彩妆。时尚行业以15436836的笔记互动增量排行第一。

各行业种草笔记互动量前列的分别为时尚16%、食品11%,护肤、居家生活、教育均为7%,说明小红书用户的关注焦点正在悄然发生变化,不再仅限于美妆护肤,更关注于时尚,向着多元化趋势发展。

从小红书用户画像里我们可以得知其原因,88.37%为女性用户,70%为90后,56%来自北京、上海、广州、深圳四大一线城市。女性、青年、一线城市,在互联网时代都是消费力的代名词,与时尚新品牌的消费人群重叠度较高。
这种情况之下,一方面,会推动小红书这一平台在时尚新品牌成长过程价值得到证明和放大,服务能力实现正向的扩容。另一方面,也会让小红书在满足年轻人消费需求上,可以快速响应,从而达到用户体验、品牌、平台、产业多方共赢。
同时还会有另一种情况出现,那就越来越多的品牌营销,不再只选择影力大的KOL和媒体,也开始侧重专业用户的真实分享,就是KOC。
这就是广告营销投放预算的进一步下沉,能在小红书里恰饭的可能是每一个普通的用户。但一个普通用户要如何抓住这个红利,成功上岸,成为小红书时尚博主呢?
这时候,我们需要一份详细的规划。
一、选择发展方向,确定账号定位小红书里的时尚穿搭类内容比较广泛,如果直接定位为时尚穿搭,并不真正意味着你这个账号是垂类账号,所以,我们要在时尚穿搭类目里面细分小的类目。
根据笔记的内容形式区分,小红书里常见的时尚穿搭类内容有测评类、穿搭技巧类和好物推荐类。
其中测评类主要是在天猫、淘宝、拼多多、唯品会、1688等平台购买服装试用,然后从各个角度出发,分享博主真实的穿衣感受,让用户进行种草和拔草。
穿搭技巧类博主主要是根据各个场景或者季节,进行服装搭配,展现整体穿衣效果,告诉用户怎么穿才更好看,属于干货教程分享类内容。其内容还可以往下细化到风格,比如,甜美风、职场风、休闲风,国潮风(汉服、汉元素)等,这些都是在做账号定位时所要考虑的方向。
时尚穿搭类目里的好物推荐类博主与美妆类目和护肤类目有点类似,但时尚搭配类目的好物推荐主要是从女性用户的关注角度出发,在各个购物网站里面挑选产品,比如性价比、质量、显白、显瘦等,对用户进行一个分享推荐。
好物推荐类博主还可以从单品的角度进行细分,比如鞋子、衣服、裙子、帽子、配饰等,同样的,我们还可以在单品推荐的基础上,再加上风格定位,可以增加用户对博主的辨识。
不仅如此,我们还可以在性别上做文章,虽说小红书用户上有88.37%的女性用户,但剩下的11.63%的男性用户,也可以做为攻略目标。所以,如果你觉得做女性穿搭的竞争力太大,不妨试试做男性穿搭,男性穿搭的用户群里除了男性以外,还有潜在用户,比如:已婚、或者有男朋友的女生、有哥哥或者弟弟的女生、喜欢中性穿搭的女生,都有可能会搜索关于男性穿搭的内容。
除此之外,美甲类与发型类的内容,都属于时尚穿搭类目的内容,这两个内容也是近几年比较火的,特别是美甲类,笔记流量与互动数据都还不错。
二、完善个人信息账号定位确定之后,我们可以参照美妆类目与护肤类目的方法,完善昵称、头像、个人简介、背景的信息。
但这里有一点可以需要注意,时尚穿搭类的博主可以写上个人身高体重,或者身形,便于用户选择,做测评类内容的博主还有可以注明是否是原相机拍摄,比如以下这两位博主:


在时尚穿搭类目里,图文笔记与视频笔记各占一半,但图文笔记的互动数据普遍会比视频笔记的互动更多,因为与视频笔记相比,图文可以更直观地看到试穿效果。那如何写好一篇笔记呢?我们从四个角度去详细分析时尚穿搭类笔记的写作技巧。

时尚穿搭类目的笔记封面一般有8种展现形式,分为
①产品堆砌封面
②效果对比封面
③高颜值达人封面
④教程/步骤封面
⑤产品展示封面
⑥产品上身效果展示封面
⑦产品+产品上身效果展示封面
⑧产品/真人展示+文字说明
视频笔记的封面分为两种情况,服饰穿搭类内容,一般都是真人出镜,大多数选择真人+文字,文字一般为视频的重点内容总结。鞋子包包、配饰等产品的话,会选择产品+文字的效果,吸引用户点击。

图文笔记的封面比较多样,有人物单图/场景图/产品图+文字、还有就是利用美图软件制作的人物拼接、产品拼接,人物对比图等。如果我们把笔记的封面图设计的精致显眼,那么我们的笔记就已经成功了一小半。

但是,同样还要注意一个问题,不要过分摆拍哦。
标题时尚搭配类的标题,我们可以套用万能公式:
植入关键词
向知名ip借势力
设置疑问、悬念
适度做标题党,擅用emoji表情
引发共鸣
关键字一般紧抓“显白”“显瘦”“显高”“百搭”“保暖/清凉”等,另外还有几个比较常用的标题写作技巧:
数字植入,比如:155、80块钱等;
夸大效果,增加夸张式形容词,比如:仙气满满、一衣多穿、绝美等;
增加人群标签,比如:小个子女生、微胖女生、高个子女生等;
点名购物平台,比如1688、拼多多、淘宝(但注意,不要用全称,可以用谐音);
时尚穿搭类的笔记,正文远没有封面图片重要,主要是起辅助效果,对图片产品进行说明,并写上自己的感受就好,没有多大的要求和难度,比如:


但是,在写笔记正文的时候,我们还是需要布局关键词,以便于用户搜索。接下来,我们说一下,时尚搭配类的关键词话题推荐。
关键词话题推荐我们从千瓜数据的每日热搜词排行榜里提取排名前20的热搜词,排名前三的为:#穿搭、#搭配、#穿搭薯,其次是近期新出现的高频热词#小姐姐,所以,我们在写笔记的时候,也可以利用其中的热词,给笔记增加热度。



关键字布局完成之后,我们也不要忘记在笔记末尾带上我们的话题,笔记话题就相当于是微博里的tag标签:别人点击/搜索这个话题就能按顺序看到带了这个标签的微博,小红书里的话题也是一样,填了话题的笔记别人就能够通过相应的话题看到或者是搜索到,比起没有加话题的笔记曝光量和阅读量当然也会更高一点。
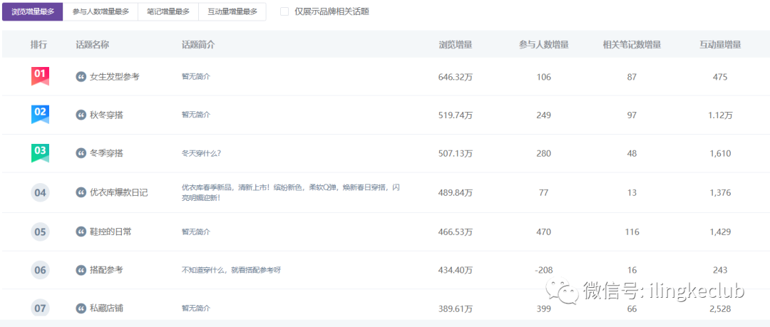
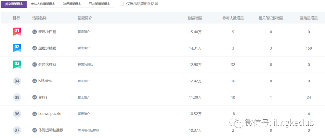
比如,近期我们可以使用以下几个话题:



当然,我们在选择话题的时候,一定要选择与我们的内容所匹配的,不要盲目跟风,可以避开大范围或者竞争力大的词汇,优选包含关键词的话题,可以更好地获取流量。
以上,就是我们今天分享的内容,如果还有其他问题,欢迎文章下方留言评论哦!
-END-
以上就是为大家介绍的时尚穿搭类在小红书里爆火的秘密,希望对大家有所帮助,现在互联网已经进入到了短视频时代,如果需要抖音广告开户,抖音直播间付费推广开户或者托管的,都可以找我们咨询,现在开户优惠多多,还有返点,添加微信了解:veteran88
上一篇: 上一篇:从0开始搭建数据仓库(2):产品经理如何“玩转”Hive
下一篇: 下一篇:2021年微信公开课PRO最全干货集合,划重点啦!